#
Patents
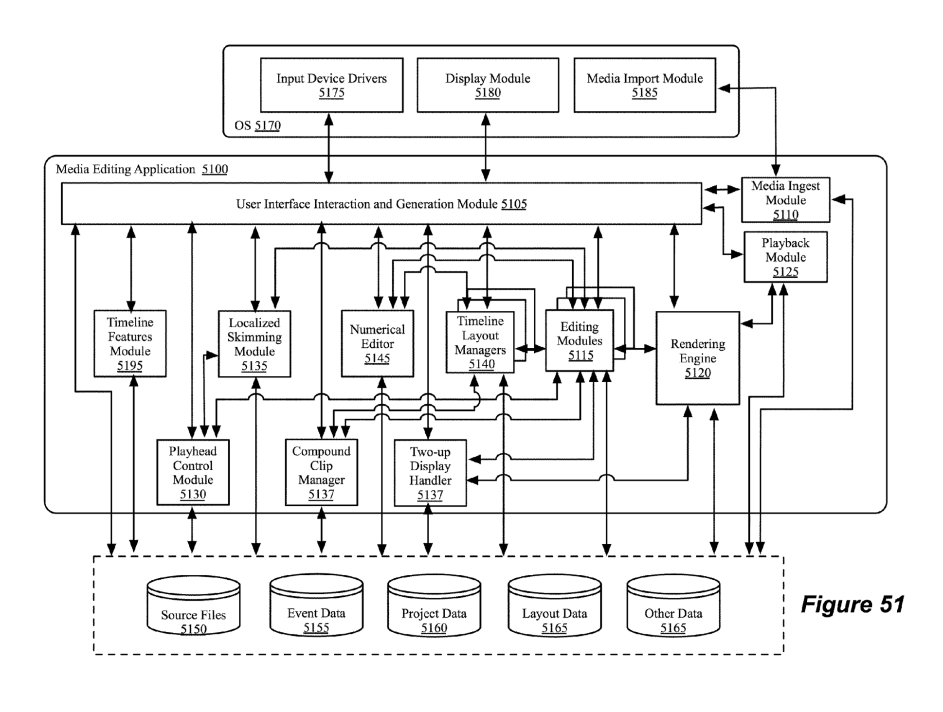
Alex4D has a great blog post on the Magnetic Timeline patent (Media-editing application with media clips grouping capabilities).
See the actual patent.
Here's one of the screenshots from the patent:
#
Patents on Google Patents
Here's a small collection of Final Cut Pro related patents:
- Accelerator handles
- Adjustment of color values for optimized image processing
- Anchor point in media
- Application for designing journals
- Applying a Realistic Artistic Texture to Images
- Associating keywords to media
- Auto stacking of related images
- Automatic generation of multi-camera media clips
- Boolean Search User Interface
- Color adjustors for color segments
- Context aware user interface for image editing
- Context based adaptive image resampling
- Display of multiple images
- Edit to tape
- Estimating and removing lens distortion from scenes
- Fanning user interface control for medium editing application
- Fanning user interface controls for a media editing application
- Fast creation of video segments
- Import directly into specified folders and user interface
- Interactive image thumbnails
- Media-editing application with media clips grouping capabilities
- Method and apparatus for color correction
- Method and apparatus for dynamically resizing windows
- Method and interface for converting images to grayscale
- Modified media presentation during scrubbing
- Navigating Image Presentations
- Navigation within a large computer file
- Optimizing the Execution of Media Processing Routines Using a List of Routine Identifiers
- Previewing effects applicable to digital media content
- Producing Smooth Motion Compensated Frames by Combining Multiple Interpolation Results
- Publishing Media Content to Virtual Movie Theatres
- Regular sampling and presentation of continuous media stream
- Retiming media presentations
- Rolling shutter distortion correction
- Select drag and drop operations on video thumbnails across clip boundaries
- Smoothing and/or locking operations in video editing
- Spatial and temporal alignment of video sequences
- Spatial conform operation for a media-editing application
- Split edits
- Synchronizing video with audio beats
- Techniques for displaying digital images on a display
- Two-dimensional timeline display of media items
- Unified slider control for modifying multiple image properties
- User interface tools for selectively applying effects to image
- User interfaces for editing video clips
- Video and audio waveform user interface
- Video format for digital video recorder
- Video Format for Digital Video Recorder
- Viewing digital images on a display using a virtual loupe
- Viewing digital images using a floating controller
- Visual presentation composition
- Visual presentation composition
You can find more by searching by these authors:
...it's a deep rabbit hole, enjoy!
Want to contribute? Learn more here!